1 - 1200L Mixer compartment
2 - Water tank compartment
3 - 1200L Agitator compartment
4 - Grout pump compartment
5 - Command and control panel compartment

6 - Compressor compartment

1200L Mixer
1. 3 sets of weighting units, enabling quantitative feeding of different materials
2. High-speed colloidal grout mixer
3. Add an auxiliary impeller to achieve three-dimensional stirring, making material mixing more uniform and efficient
4. Main pipeline valves are all pneumatic valves

Water tank
1. High and low level sensors for automatic water addition
2. Two-time water addition to achievea a more accurate water dosage
3. Bulit-in external additive tank for mixing 3 materials

1200L Agitator
Low-speed stirring to prevent the slurry from settling and solidifying
Agitator has an automatic cleaning function
Two slurry outlets can be selected as needed


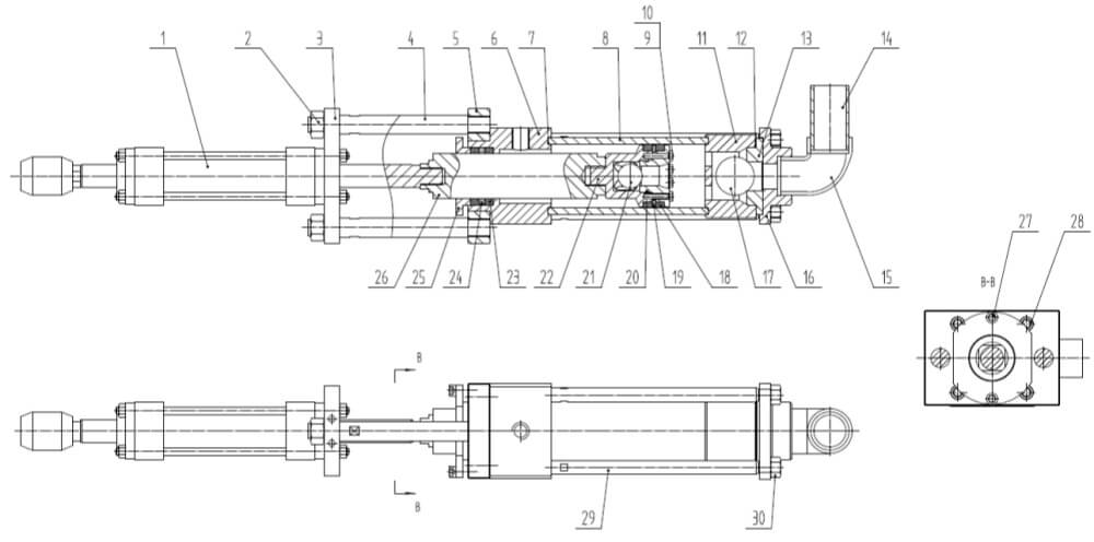
Grout Pump


1. Compact structure
2. Single cylinder and double acting type, with continuous pumping and small pressure fluctuation, Uniform slurry
3. Fewer spare parts ensure low maintenance costs
Command and control panel


1. Easy to operate and maintain
2. Two modes of operation: fully automatic mode and manual mode
3. The proportion of materials in the formula can be adjusted freely
4. Realize automatic configuration and replenishment of materials
5. Flameproof electric cabinet, protection grade IP56

